
美国专利商标局No.20150077619号专利公布了一系列索尼新35mm大光圈镜头设计,而且均针对曲面传感器。新专利内镜头规格包括29.96mm f/2.06、36mm f/1.85、36mm f/2.85、36mm f/2.26,这些镜头均有可能会应用于下一代RX系列全画幅相机。另外还有针对1"曲面传感器设计的10.79-25mm f/2.8-5.4。
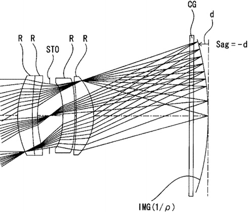
先介绍一下专利背景。专利严格使用了“non-planar(非平面)”一词,说明曲面传感器的曲率其实有限,因此不能完全抵消镜头像场弯曲问题。而根据现已掌握的消息,No.20150077619号专利主要探索曲面传感器专用镜头的小型化问题,并在有限的尺寸内提升像场弯曲补偿效果。
索尼曲面传感器早已不是镜中花水中月,在去年我们已经见过曲面全画幅传感器的实物,后续索尼发布的KW1则将曲面传感器技术推向了商用,现在的问题是,索尼什么时候推出搭载该传感器的全画幅相机。
