
腾龙目前变焦倍率最高的镜头16-300mm f/3.5-6.3 Di II VC PZD MACRO
腾龙14-300mm f/3.5-6.3 VC防抖镜头专利现已公布,日本公开专利号No.2014-219479。该专利镜头适用APS-C格式单反,等效焦距21-450mm。
No.2014-219479号专利详情:
公开日期:2014年11月20日
申请日期:2013年5月2日
发明人:李大勇
腾龙在天涯头方面的开发一直不遗余力,去年2月发布了变焦倍率最高的单反镜头16-300mm f/3.5-6.3 Di II VC PZD MACRO。此番新专利不仅把广角端延伸至14mm,若得以实例化还会继续刷新由腾龙自己创造的单反变焦记录。
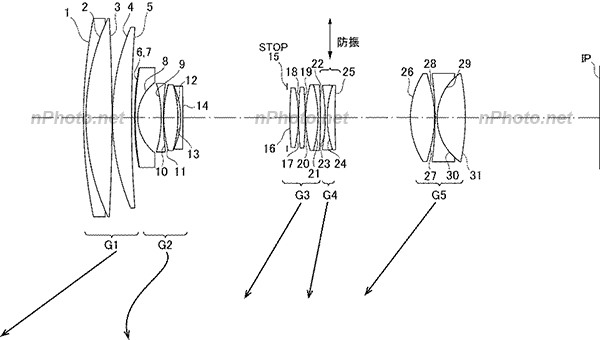
根据现已公布的资料,该镜头采用正负正正四组基本结构,伸缩式变焦,内对焦系统。该专利镜头也基本延续了便携、大变焦同时照顾超广角的设计思路。发明人李大勇曾主持设计过多款腾龙大变焦镜头,其中最为人所熟知的有18-270mm f/3.5-6.3 DiⅡ VC PZD。
实施例11

变焦倍率:20.07
焦距:14.5-71.0-291.012mm
Fno:3.6-6.1-6.5
半画角:45.3-11.22-2.81°
近轴像高:14.653-14.084-14.284mm