
尼康AF-S尼克尔600mm f/4G ED VR
尼康正式公布尼克尔600mm f/4 FL镜头专利,日本公开专利号No.2014-211495、No.2014-211496。新镜头加入了FL(氟涂层半月形保护玻璃)镜片,可以有效防止灰尘或水滴在镜片上附着,以增强镜头的耐久性。
No.2014-211495、No.2014-211496号专利详情:
公开日期:2014年11月13日
申请日期:2013年4月17日
发明人:三楠 哲史
目前尼康AF-S尼克尔400mm f/2.8E FL ED VR和AF-S尼克尔800mm f/5.6E FL ED VR已率先使用氟涂层技术,这种特殊的半月形玻璃不仅可以有效?;ぞ低?,还为用户清洁镜头提供的一定的便利。
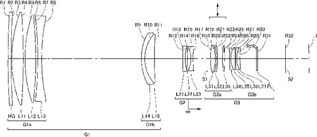
根据现已公布资料,新镜头采用13组17片光学结构,其中含ED和萤石镜片,内对焦,支持VR防抖。早前已有不少消息表明尼康将逐步更新超长定焦镜头产品线,目前更新计划正有条不紊地进行,或许下一款就是新600定,同时我们也有理由期待着更多镜头贴上FL的标签。
实施例1:

焦距:587.99mm
Fno:4.07
半画角:2.09°
像高:21.60mm
光学全长:475.68mm
镜头结构:13组17片