qq号免费加妹子,成都ww大圈招聘,全国24小时空降平台网站,约跑同城线下约会


索尼万能自动对焦机身专利公布
 http://m.v0x4.cn 2014-11-04 15:18:25 来源:新摄影网
0

  大约在一年多前,SAR突然发布了一则关于索尼传感器位移对焦相机的传闻,尽管之后关于这款相机的消息不了了之,但始终让人有些难忘。

  传感器位移对焦,即是让相机传感器沿光轴方向移动,改变法兰距,从而实现自动对焦。这并不是什么新技术,康泰时早在胶片时代就已将其应用到CONTAX AX身上。理论上,只要是镜头就能在该机身上实现自动对焦功能。万能自动机身也非天方夜谭。

  康泰时CONTAX AX内机身移动对焦原理

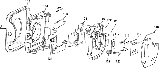
  近日SonyAlphaForum有网友发现了索尼一份关于如何实现传感器在Z轴方向移动的机械结构专利,美国公开专利号No.8866965。该专利将传感器与防抖??橹瞥梢桓龆懒⒛??。通过单独移动这个??榭墒迪址蓝逗妥远越顾毓δ?,解决了CONTAX AX体积过大问题,并降低了对焦马达负担。

  由于该专利的结构设计非常完善,已不再是常见的理论专利,有理由相信索尼内部已有试制品出现。

  No.8866965号专利

  No.8866965号专利

  No.8866965号专利

  via:SAR

版权声明:转载须经版权人书面授权并注明来源 [责任编辑: 崔益明 ] [字体: ] [打印] [关闭]
关于我们 - 版权声明 - 联系我们 投稿信箱:cnpressphoto@gmw.cn
京ICP备19055723号  Copyright ©cnpressphoto.com