qq号免费加妹子,成都ww大圈招聘,全国24小时空降平台网站,约跑同城线下约会


佳能EF 35mm f/1.4L镜头专利公布
 http://m.v0x4.cn 2014-10-29 16:51:14 来源:新摄影网
0

  佳能新35mm f/1.4镜头专利现已公布,日本公开专利号No.2014-202952。相对目前版本,新专利主要强化镜头在微距模式下的成像质量。

  No.2014-202952专利详情

  公开日期:2014年10月27日

  申请日期:2013年4月5日

  从2011年开始,佳能基本上在以一年一份的节奏申请新35mm f/1.4镜头专利,对于目前这款已服役近16年的产品来说,估计有很多人已经望眼欲穿。如果要列一份EF镜头更新名单,EF 35mm f/1.4L USM绝对能排进前三。

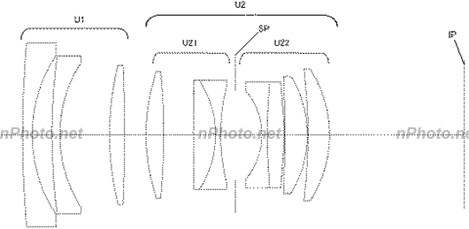
  EF 35mm f/1.4L镜头结构

  根据现已公布的资料,新镜头针对现有产品所作改进不大,仍然保留浮动对焦系统,但取消了原先第5镜片组(上图红色线框部分),以改善镜头在最近对焦距离位置可能会出现的各项色像差问题。

  大致来看,该专利并非换代产品,更像是对新技术进行的尝试,又或者仅仅是为获得法律支持而进行的技术行?;?。

  实施例1

  焦距:34.20mm

  Fno.:1.45

  半画角:32.32°

  像高:21.64mm

  光学全长:129.16mm

  后焦距:39.35mm

  最近对焦距离:0.3m

版权声明:转载须经版权人书面授权并注明来源 [责任编辑: 崔益明 ] [字体: ] [打印] [关闭]
关于我们 - 版权声明 - 联系我们 投稿信箱:cnpressphoto@gmw.cn
京ICP备19055723号  Copyright ©cnpressphoto.com