qq号免费加妹子,成都ww大圈招聘,全国24小时空降平台网站,约跑同城线下约会


剑走偏锋!尼康可换头DC专利悄然登场
 http://m.v0x4.cn 2010-06-01 12:34:21 来源:蜂鸟网
0

最近,根据日本媒体爆料,在日本地区的专利申请网站上发现了关于传闻已久的尼康可换镜头数码相机的专利项目申请书,时间期限就是在2010年新年之后的这段时间里,从而证明了尼康的确是在从事这类数码相机的研发工作。


剑走偏锋!尼康可换头DC专利悄然登场

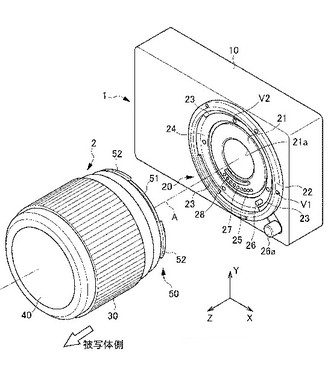
尼康可换镜头数码相机专利申请参考图

剑走偏锋!尼康可换头DC专利悄然登场
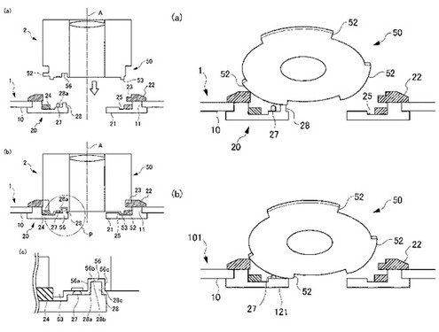
尼康可换镜头数码相机专利申请参考图

其中,我们可以发现目前尼康申请的专利主要是关于镜头与机身之间所用的电子接口,其意义在于建立相机与镜头之间的电子信号通信功能。但是从本说明文档中发现,目前这个技术难点似乎并未被突破。

剑走偏锋!尼康可换头DC专利悄然登场
尼康可换镜头数码相机专利申请参考图

另外,值得关注的还有关于尼康可换镜头数码相机配套镜头的专利。根据其中的资料我们发现,这只镜头提供17mm图像对角线,相信其焦距很可能也是在这个范围左右。

版权声明:转载须经版权人书面授权并注明来源 [责任编辑: ] [字体: ] [打印] [关闭]
发表评论
?
会员名:   密 码: 论坛会员注册 查看评论
请您文明上网、理性发言并遵守相关规定。
关于我们 - 版权声明 - 联系我们 投稿信箱:cnpressphoto@gmw.cn
京ICP备19055723号  Copyright ©cnpressphoto.com